Consulta el catálogo de recambios

35263 - ELECTROLISIS DE SAL Y CONTROL PH D-500/600 EX/PLUS

Revisión nº: 6 | Fecha: 15-09-2023

ELECTROLISIS DE SAL Y CONTROL PH D-500/600 EX/PLUS

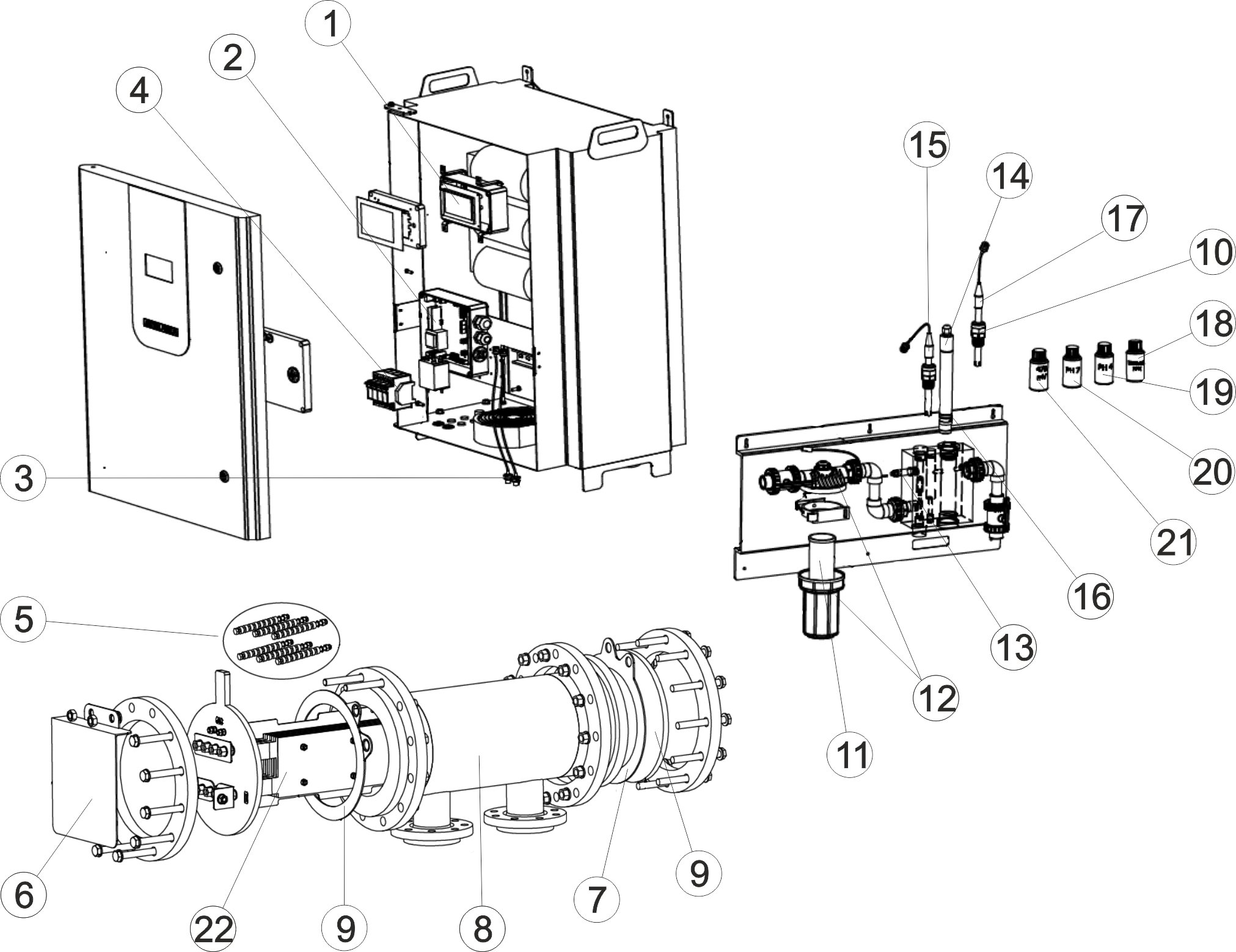
Piezas del despiece (kits o unitarios)

POS. CÓDIGO DESCRIPCIÓN    
1 4408040148 TARGETA VISUALIZADORA TACTIL DV1 EX
FOR OLD MODEL
1 4408040455 TARGETA VISUALIZADORA TACTIL EX V2
FOR CURRENT MODEL
2 4408040147 PLACA CONTROL D600+ V1
4 4408041609 FILTRO 380V A-150/A-250/A-600 EX/PLUS
5 4408041534 CJTO. TORNILLOS ANCLAJE ELECTRODOS D-100/300
6 4408040079 PROTECTOR CONTACTOS D-300/600
7 4408041519 JUNTA BRIDA CELULA D-250/600EX/+
8 4408041530 CELULA PORTA ELECTRODOS D-250/300EX/+
9 4408041533 DISCO METACRILATO D.320/15 MM. D-250/600EX/+
10 4408040604 PORTAELECTRODOS PE 12M/M-1/2"
15 60648 ELECTRODO COMBINADO PH
17 60649 ELECTRODO ORP
19 60632 TAMPON PH 4,0 50 ML. (ROJO)
20 60618 TAMPON PH 7,0 50 M/L. (VERDE)
21 60633 SOLUCION CALIBRACION 470MV.
22 60679 ELECTRODO AUTO-LIMPIANTE D-500/600 EX/+

Últimas Novedades:

VER MÁS NOVEDADES

¿Necesitas ayuda?

¿Estás buscando ayuda para encontrar el recambio que necesitas? No dudes en ponerte en contacto con tu Proveedor Oficial de FLUIDRA. Estaremos encantados de asistirte en tu búsqueda

Utilizamos cookies, propias y de terceros, para asegurar el correcto funcionamiento del sitio web y para analizar nuestros servicios y mejorar su experiencia en nuestro sitio web. Puede aceptar las cookies haciendo clic en "Aceptar" o rechazarlas haciendo clic Rechazar. Si desea saber más sobre el uso de las cookies, consulte nuestra Política de Cookies.
Aceptar Rechazar